En una alerta de IP anterior , informamos que la Oficina de Patentes y Marcas Registradas de EE. UU. (USPTO) presentó el Programa Piloto de Examen Priorizado COVID-19 para acelerar el examen de ciertas solicitudes de patentes dirigidas a productos o procesos relacionados con el tratamiento o la prevención de COVID-19.
A los solicitantes que califiquen se les eximirá de las tarifas de solicitud oficiales de la USPTO y pueden esperar la disposición final de su solicitud de patente dentro de 6 a 12 meses.
El programa se limitó inicialmente a 500 solicitudes de patente, pero la USPTO indicó que el número podría incrementarse dependiendo de la efectividad del programa y su impacto en los recursos de la USPTO.
Al 19 de enero de 2021, se habían presentado 474 solicitudes en virtud del programa ante la USPTO y se habían concedido 278 solicitudes, lo que dejaba disponibles 222 subvenciones restantes. Más de la mitad de las solicitudes a las que se otorgó examen prioritario se dirigieron a tratamientos médicos, vacunas y tecnología de diagnóstico, mientras que el resto se dirigió a ventiladores, equipos de protección personal y otras tecnologías relacionadas con COVID-19.
Patentes emitidas bajo el Programa de examen priorizado COVID-19
El 28 de diciembre de 2020, la USPTO anunció que 33 de las solicitudes aceptadas en el programa fueron permitidas o concedidas. El siguiente es un breve resumen de algunas de las patentes emitidas bajo el programa:
Patente de EE. UU. Nº 10,842,697 - " Unidad ambiental desechable Bio-Secure"
Esta patente está dirigida a un recinto bioseguro desechable diseñado para ser fijado a camillas y camas de hospitales para aislar y transportar pacientes sospechosos de tener una enfermedad infecciosa o contagiosa. Como se muestra en la FIG. 1 de la patente, el recinto también puede incluir una serie de puntos de acceso con guantes que permiten a los médicos interactuar con el paciente, al mismo tiempo que permiten la movilidad del paciente para sentarse y mover los brazos y las piernas.

HIGO. 1 de la Patente de Estados Unidos No. 10,842,697
Patente de EE. UU. Nº 10,874,687 - "Compuestos altamente activos contra COVID-19"
Esta patente está dirigida a tratamientos con fármacos COVID-19 y, más particularmente, a antivirales de nucleótidos purínicos que inhiben la replicación de varios virus de ARN, incluidos coronavirus y flavivirus. Los nucleótidos de purina se dirigen a la ARN polimerasa viral, una enzima clave que se utiliza para producir copias del genoma de ARN del virus, deteniendo el ciclo de vida del virus y la producción de nuevos virus.
Patente de EE. UU. Nº 10.803.714 - "Sistema y método de visualización, seguimiento y mantenimiento del distanciamiento social"
Esta patente está dirigida a limitar la propagación viral promoviendo el distanciamiento social. Como se muestra en la FIG. 3B de la patente, un usuario puede usar un dispositivo de generación de límites visibles y está diseñado para producir una zona de 360 ° de luz visible de color que rodea al usuario. La luz visible representa una zona segura y tiene un radio que se ajusta a los parámetros de distancia social especificados. El sistema también se puede extender a aplicaciones de dispositivos móviles para registrar datos de ubicación y proporcionar notificaciones de proximidad o alertas para "incursiones de distanciamiento social".

HIGO. 3B de la Patente de los Estados Unidos No. 10.803.714
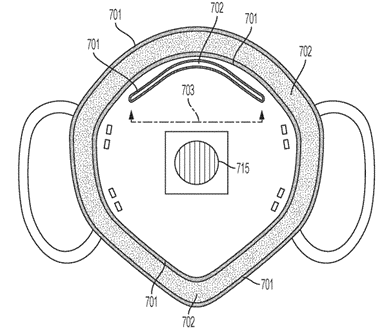
Patente de EE. UU. Nº 10,834,978 - "Cojín de silicona suave con bordes para mascarillas"
Esta patente está dirigida a un cojín de silicona que se puede unir a máscaras faciales para reducir las fugas de aire y brindar comodidad a quien lo usa. En un ejemplo, el cojín puede tener forma de U y abrocharse a los bordes laterales de la mascarilla. El cojín también puede contener un gel de silicona que mejora la comodidad del usuario y la resistencia a las fugas.

HIGO. 7 de la Patente de Estados Unidos No. 10, 834,714
Conclusión
El Programa Piloto de Examen Priorizado COVID-19 permanece vigente y la USPTO no ha indicado si el número de solicitudes se extenderá más allá de las 500 iniciales en este momento. Comuníquese con los abogados de patentes de Vorys si tiene alguna pregunta o si necesita ayuda para solicitar el programa.
Origen: https://www.vorys.com/publications-2852.html